塑料封条系列

您现在的位置: 首页 > 产品中心 > 塑料封条系列

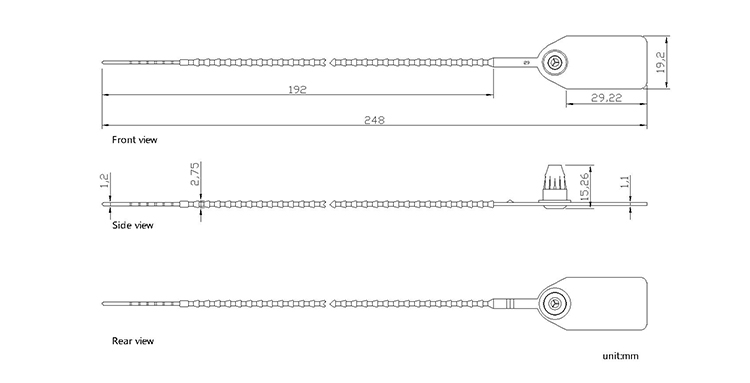
JCPS302

低温防断裂及很好的韧性;永久激光最高打印安全标记;

用以固定电线、电缆等线路,

封条条身上的锯齿可以与塑料口里面的弹性塑料扣密合,

能起到十分牢固的固定作用。



塑料封条 JCPS302

编号

JCPS302

JCPS303

JCPS304

JCPS305

JCPS402

JCPS404

JCPS602

JCPS408

长度

300/400/500mm

500mm

295mm

190mm

200mm

274mm

238mm

330mm

打标区尺寸

32.6*27.8mm

50*28.5

mm

23*24.8mm

30*20

mm

11*12

mm

67.5*25mm

29.4*17.5mm

26.1*10

mm

直径

4mm

8.8mm

2.5mm

10mm

8mm

3mm

4.5mm

拉力

107N

196N

490N

>200N

制造工艺

热熔卷边/超声波焊接

材质

PP

颜色

黄、白、蓝、绿、红、橙等

打标方式

激光打标、烫印、其他

打标内容

数字、字母、标志、条形码等,可按客户指定方式打标

用途

快递、物流、餐饮、医院、邮政等

包装

100个/包,25包/箱 可按客户指定方式定制包装

公司证书

ISO9001,ISO14001, ISO18001, OHSAS17712,SGS,C-TPAT反恐认证

WG官方网站位于山东与京津冀交接的枢纽之城德州市庆云县,公司创立于1990年,2008年正式更名为“君创锁业”,是国内较早专注于铅封锁具和仓储物流终端产品研发的制造企业之一。自创办以来,不断发挥行业领军作用安全封条行业以及仓储物流产业、中国智慧物流发展做出了不菲的贡献。

企业自建厂房占地面积二万多平方米,设备460多台,员工300余名,拥有高水准的研发团队及高素质的员工队伍。集仪表铅封、一次性封条、高保封、电子智能铅封、塑料扎带、GPS定位封、周转箱等产品的研发、设计、生产、销售为一体。 经过十多年的发展,已成为国内极具规模与影响力的仓储物流终端产品的综合提供企业,企业年产值连续4年超2亿元。

通过自主研发,君创锁业当前已拥有40余项国家发明专利、新型外观专利,企业及产品通过了ISO9001质量管理体系、ISO14001环境管理体系、ISO18001职业健康安全管理体系、ISO17712货运集装箱-机械密封件标准认证、SGS瑞士通用公证行、C-TPAT海关-商贸反恐怖联盟安全体系等各类检测及认证,被评为“国家高新技术企业”,在华东、华南、华中、香港及全球各洲均设有经销商,形成以华北总部为基地,覆盖全国以至全球的专业营销渠道和网络体系。

公司是中国石油、中国海油、中国石化的合格供货商;是国家电网、南方电网的常年供应商;是中铁快运、顺丰快递、京东物流等国内物流企业的重要合作伙伴。产品广泛适用于铁路、航空、港口、电力、石油、化工、邮政、通信、制药等行业领域。服务网络遍布全国并覆盖至全球国际市场。 在新老客户中树立了良好的声誉,达成了长期稳定的合作关系。

上一产品:JCPS304

下一产品:JCCS304

其他同类产品


©2018 CopryRight 君创锁业 版权所有 备案号:鲁ICP备08016136号-1 鲁公网安备 37142302000145号